| Sign In | Join Free | My hardware-wholesale.com |
|
Brand Name : Texas Instruments
Model Number : TMS320F2808PZA
Certification : ROHS
Place of Origin : Malaysia
MOQ : 10PCS
Price : Negotiable
Payment Terms : T/T, Western Union
Supply Ability : 1400PCS/WEEK
Delivery Time : 2-3DAYS
Packaging Details : 90PCS/TRAY
Product Category : Digital Signal Processors & Controllers - DSP, DSC
Maximum Clock Frequency : 100 MHz
Program Memory Size : 128 kB
Data RAM Size : 36 kB
Operating Supply Voltage : 1.8 V
Minimum Operating Temperature : - 40 C
Maximum Operating Temperature : + 125 C
ADC Resolution : 12 bit
Data Bus Width : 32 bit
Processor Series : F280x
Supply Voltage - Max : 1.89 V
Supply Voltage - Min : 1.71 V
Factory Pack Quantity : 90
TMS320F2808PZA Digital Signal Processors & Controllers - DSP Texas Instruments Electronic
Integrated Circuits
1.Features
• High-performancestaticCMOStechnology– 100 MHz(10-nscycletime)– 60 MHz(16.67-nscycletime)– Low-power(1.8-Vcore,3.3-VI/O) design
• JTAGboundaryscansupport– IEEEStandard1149.1-1990StandardTestAccessPort and BoundaryScanArchitecture
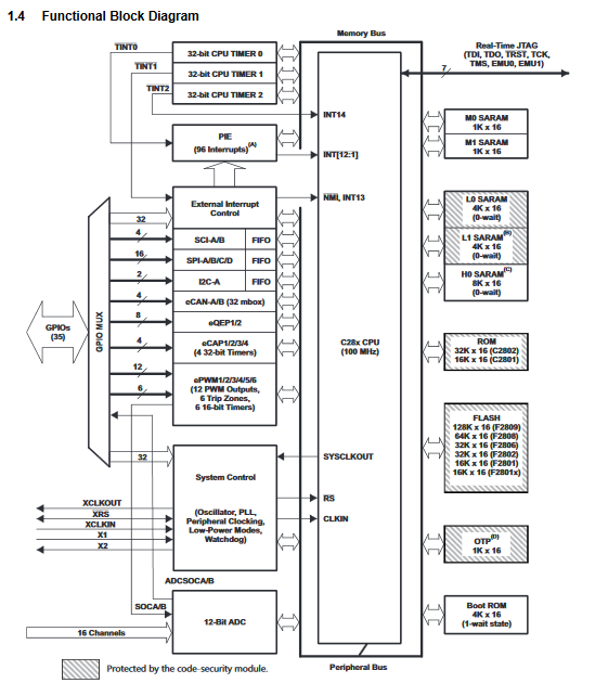
• High-performance32-bitCPU(TMS320C28x)– 16 × 16 and 32 × 32 MACoperations– 16 × 16 dual MAC– Harvardbus architecture– Atomicoperations– Fastinterruptresponseand processing– Unifiedmemoryprogrammingmodel– Code-efficient(in C/C++and Assembly)
• On-chipmemory– F2809:128K× 16 flash,18K × 16 SARAMF2808:64K × 16 flash,18K × 16 SARAMF2806:32K × 16 flash,10K × 16 SARAMF2802:32K × 16 flash,6K × 16 SARAMF2801:16K × 16 flash,6K × 16 SARAMF2801x:16K × 16 flash,6K × 16 SARAM– 1K × 16 OTPROM(flashdevicesonly)– C2802:32K × 16 ROM,6K × 16 SARAMC2801:16K × 16 ROM,6K × 16 SARAM
• BootROM(4K × 16)– Withsoftwarebootmodes(via SCI,SPI, CAN,I2C, and parallelI/O)– Standardmathtables
• Clockand systemcontrol– On-chiposcillator– Watchdogtimermodule
• Any GPIOA pin can be connectedto one of thethreeexternalcoreinterrupts
• PeripheralInterruptExpansion(PIE)blockthatsupportsall 43 peripheralinterrupts
• Endianness:Littleendian
• 128-bitsecuritykey/lock– Protectsflash/OTP/L0/L1blocks– Preventsfirmwarereverse-engineering
• Three32-bitCPUtimers
Enhancedcontrolperipherals– Up to 16 PWMoutputs– Up to 6 HRPWMoutputswith 150-psMEPresolution– Up to four captureinputs– Up to two quadratureencoderinterfaces– Up to six 32-bit/six16-bittimers
• Serialport peripherals– Up to 4 SPI modules– Up to 2 SCI (UART)modules– Up to 2 CANmodules– One Inter-Integrated-Circuit(I2C)bus
• 12-bitADC,16 channels– 2 × 8 channelinputmultiplexer– Two sample-and-hold– Single/simultaneousconversions– Fastconversionrate:80 ns - 12.5MSPS(F2809only)160 ns - 6.25MSPS(280x)267 ns - 3.75MSPS(F2801x)– Internalor externalreference
• Up to 35 individuallyprogrammable,multiplexedGPIOpins with inputfiltering
• Advancedemulationfeatures– Analysisand breakpointfunctions– Real-timedebugvia hardware
• Developmentsupportincludes– ANSIC/C++compiler/assembler/linker– CodeComposerStudio™ IDE– SYS/BIOS– Digitalmotorcontroland digitalpowersoftwarelibraries
• Low-powermodesand powersavings– IDLE,STANDBY,HALTmodessupported– Disableindividualperipheralclocks
• Packageoptions– Thinquadflatpack(PZ)– MicroStarBGA™ (GGM,ZGM)
• Temperatureoptions– A: –40°C to 85°C (PZ, GGM,ZGM)– S: –40°C to 125°C (PZ, GGM,ZGM)– Q: –40°C to 125°C (PZ)(AEC-Q100qualificationfor automotiveapplications)

2.Why choose us?
100% brand new and discounted price
high efficiency
Fast delivery
Professional team service
10 years of experience in electronic components
Electronic components agent
Advantage logistics discount
Quality after-sales service
|
|
Texas Instruments TMS320F2808PZA Digital Signal Processors Controllers Images |